YZG系列三相异步振动电机为各类机械通用型激振源,如振动给料机、振动输送机、振动放矿机、振动落砂机、振动筛分机、料仓的振动防闭塞装置等。广泛应用于电力、机械、建材、矿山、铸造、粮食、冶金、化工、港口等行业。
二、特点
YZG系列三相异步振动电机具有以下优点:
1、激振力与功率配合适当,机体质量轻、体积小。
2、利用平稳的回转产生振动力,噪声低。
3、全封闭结构,外壳防护等级IP54、IP55。
4、使用寿命长,轴承寿命2极达5000小时,4、6、8极达10000小时。
5、只需调节偏心块夹角,就可实现无级调整激振力。
6、可多机组合形成多种振动形式,满足各种作业要求。
7、机种丰富,规格齐全,能满足各类振动机械的工作需要。
三、使用条件
环境温度:-15℃~+40℃ 绝缘等级:F级
海 拔:<1000m 电源频率:50
Hz
电 压:380V 工作方式:连续S1
接 法:Y/△ 安装方式:任意方向
四、型号举例

五、技术参数
序 | 型号 | 额定 | 额定 | 额定 | 额定 | 额定 | 温升 | 绝缘 | 防护 | 重量 |
1 | YZG1-0.09/2 | 0-1 | 0.09 | 0.32 | 2900 | 380 | ≤80 | F | IP55 | 10 |
2 | YZG2-0.18/2 | 0-2 | 0.18 | 0.59 | 2900 | 18 | ||||
3 | YZG8-0.25/2 | 0-3 | 0.25 | 0.78 | 2900 | 20 | ||||
4 | YZG5-0.37/2 | 0-5 | 0.37 | 1.10 | 2900 | 28 | ||||
5 | YZG10-0.75/2 | 0-10 | 0.75 | 1.96 | 2900 | 48 | ||||
6 | YZG20-1.5/2 | 0-20 | 1.5 | 3.67 | 2900 | 70 | ||||
7 | YZG30-2.2/2 | 0-30 | 2.2 | 5.10 | 2900 | 106 | ||||
8 | YZG50-3.7/2 | 0-50 | 3.7 | 8.43 | 2900 | 190 | ||||
9 | YZG1-0.09/4 | 0-1 | 0.09 | 0.35 | 1450 | 12 | ||||
10 | YZG2.5-0.12/4 | 0-2.5 | 0.12 | 0.49 | 1450 | 20 | ||||
11 | YZG5-0.25/4 | 0-5 | 0.25 | 0.85 | 1450 | 30 | ||||
12 | YZG8-0.37/4 | 0-8 | 0.37 | 1.18 | 1450 | 50 | ||||
13 | YZG10-0.55/4 | 0-10 | 0.55 | 1.76 | 1450 | 50 | ||||
14 | YZG16-0.75/4 | 0-16 | 0.75 | 1.94 | 1450 | 76 | ||||
15 | YZG20-1.1/4 | 0-20 | 1.1 | 2.85 | 1450 | 86 | ||||
16 | YZG30-1.5/4 | 0-30 | 1.5 | 3.76 | 1450 | 110 | ||||
17 | YZG40-2.0/4 | 0-40 | 2.0 | 4.70 | 1450 | 140 | ||||
18 | YZG50-2.2/4 | 0-50 | 2.2 | 5.55 | 1450 | 200 | ||||
19 | YZG60-3.0/4 | 0-60 | 3.0 | 7.36 | 1450 | 245 | ||||
20 | YZG80-5.5/4 | 0-80 | 5.5 | 11.5 | 1450 | 340 | ||||
21 | YZG100-7.5/4 | 0-100 | 7.5 | 16.88 | 1450 | 460 | ||||
22 | YZG1.5-0.12/6 | 0-1.5 | 0.12 | 0.5 | 960 | 20 | ||||
23 | YZG3-0.25/6 | 0-3 | 0.25 | 1.0 | 960 | 32 | ||||
24 | YZG5-0.37/6 | 0-5 | 0.37 | 1.36 | 960 | 55 | ||||
25 | YZG8-0.55/6 | 0-8 | 0.55 | 1.60 | 960 | 65 | ||||
26 | YZG10-0.75/6 | 0-10 | 0.75 | 2.46 | 960 | 78 | ||||
27 | YZG16-1.1/6 | 0-16 | 1.1 | 3.38 | 960 | 96 | ||||
28 | YZG20-1.5/6 | 0-20 | 1.5 | 4.48 | 960 | 120 | ||||
29 | YZG25-1.85/6 | 0-25 | 1.85 | 5.56 | 960 | 150 | ||||
30 | YZG30-2.2/6 | 0-30 | 2.2 | 6.20 | 960 | 200 | ||||
31 | YZG45-3.0/6 | 0-45 | 3.0 | 8.30 | 960 | 250 | ||||
32 | YZG50-3.7/6 | 0-50 | 3.7 | 9.38 | 960 | 300 | ||||
33 | YZG60-4.5/6 | 0-60 | 4.5 | 11.50 | 960 | 380 | ||||
34 | YZG80-5.5/6 | 0-80 | 5.5 | 13.6 | 960 | 420 | ||||
35 | YZG100-7.5/6 | 0-100 | 7.5 | 17.12 | 960 | 520 | ||||
36 | YZG1.5-0.18/8 | 0-1.5 | 0.18 | 0.86 | 720 | 32 | ||||
37 | YZG3-0.25/8 | 0-3 | 0.25 | 1.18 | 720 | 60 | ||||
38 | YZG5-0.37/8 | 0-5 | 0.37 | 1.76 | 720 | 80 | ||||
39 | YZG10-0.75/8 | 0-10 | 0.75 | 2.78 | 720 | 136 | ||||
40 | YZG16-1.1/8 | 0-16 | 1.1 | 4.08 | 720 | 150 | ||||
41 | YZG20-1.5/8 | 0-20 | 1.5 | 4.94 | 720 | 220 | ||||
42 | YZG30-2.2/8 | 0-30 | 2.2 | 6.7 | 720 | 350 | ||||
43 | YZG50-3.7/8 | 0-50 | 3.7 | 9.8 | 720 | 460 |
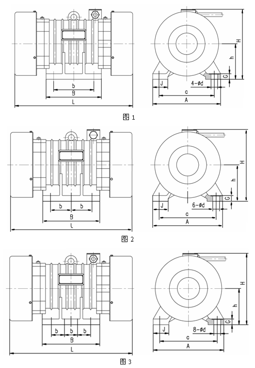
六、外型及安装尺寸

*注:1.
YZG系列电机外壳颜色为国际通用安全警告色,如客户需要可另作说明。
2.用户如在额定电源电压、额定电源频率、特别激振力、特别材质等方面有特殊要求时请详细说明,本公司可按特殊要求制作。
序号 | 型号 | L | B | b | A | c | h | H | G | d | 图 型 |
1 | YZG1-0.09/2 | 220 | 70 | 40 | 150 | 120 | 65 | 155 | 13 | 10 | 图1 |
2 | YZG2-0.18/2 | 250 | 130 | 90 | 180 | 150 | 90 | 200 | 14 | 14 | |
3 | YZG3-0.25/2 | 250 | 130 | 90 | 180 | 150 | 90 | 200 | 14 | 14 | |
4 | YZG5-0.37/2 | 310 | 155 | 110 | 220 | 180 | 100 | 210 | 18 | 18 | |
5 | YZG10-0.75/2 | 400 | 195 | 140 | 265 | 220 | 120 | 225 | 22 | 22 | |
6 | YZG20-1.5/2 | 440 | 215 | 150 | 320 | 260 | 140 | 290 | 24 | 26 | |
7 | YZG30-2.2/2 | 490 | 240 | 170 | 380 | 310 | 160 | 340 | 30 | 32 | |
8 | YZG50-3.7/2 | 570 | 300 | 220 | 430 | 350 | 180 | 380 | 34 | 38 | |
9 | YZG1-0.09/4 | 230 | 70 | 40 | 150 | 120 | 65 | 155 | 13 | 10 | |
10 | YZG2.5-0.12/4 | 250 | 130 | 90 | 180 | 150 | 90 | 200 | 14 | 14 | |
11 | YZG5-0.25/4 | 330 | 150 | 110 | 220 | 180 | 100 | 210 | 18 | 18 | |
12 | YZG8-0.37/4 | 390 | 140 | 140 | 265 | 220 | 120 | 225 | 22 | 22 | |
13 | YZG10-0.55/4 | 400 | 195 | 140 | 265 | 220 | 120 | 225 | 22 | 22 | |
14 | YZG16-0.75/4 | 440 | 215 | 150 | 320 | 260 | 140 | 290 | 24 | 26 | |
15 | YZG20-1.1/4 | 450 | 215 | 150 | 320 | 260 | 140 | 290 | 24 | 26 | |
16 | YZG30-1.5/4 | 490 | 240 | 170 | 380 | 310 | 160 | 340 | 30 | 32 | |
17 | YZG40-2.0/4 | 510 | 240 | 170 | 380 | 310 | 160 | 340 | 30 | 32 | |
18 | YZG50-2.2/4 | 570 | 300 | 220 | 430 | 350 | 180 | 380 | 34 | 38 | |
19 | YZG60-3.0/4 | 620 | 300 | 220 | 430 | 350 | 180 | 3910 | 34 | 38 | |
20 | YZG80-5.5/4 | 680 | 360 | 250 | 460 | 380 | 200 | 440 | 38 | 38 | 图2 |
21 | YZG100-7.5/4 | 740 | 380 | 280 | 530 | 440 | 220 | 460 | 38 | 45 | |
22 | YZG1.5-0.12/6 | 256 | 130 | 90 | 180 | 150 | 90 | 200 | 14 | 14 | 图1 |
23 | YZG3-0.25/6 | 330 | 150 | 110 | 220 | 180 | 100 | 210 | 18 | 18 | |
24 | YZG5-0.37/6 | 402 | 195 | 140 | 265 | 220 | 120 | 225 | 22 | 22 | |
25 | YZG8-0.55/6 | 410 | 195 | 140 | 265 | 220 | 120 | 225 | 22 | 22 | |
26 | YZG10-0.75/6 | 430 | 215 | 150 | 320 | 260 | 140 | 290 | 24 | 26 | |
27 | YZG16-1.1/6 | 460 | 215 | 150 | 320 | 260 | 140 | 290 | 24 | 26 | |
28 | YZG20-1.5/6 | 520 | 240 | 170 | 380 | 310 | 160 | 340 | 30 | 32 | |
29 | YZG25-1.85/6 | 550 | 240 | 170 | 380 | 310 | 160 | 340 | 30 | 32 | |
30 | YZG30-2.2/6 | 580 | 290 | 220 | 430 | 350 | 180 | 380 | 34 | 38 | |
31 | YZG45-3.0/6 | 610 | 290 | 220 | 430 | 350 | 180 | 380 | 34 | 38 | |
32 | YZG50-3.7/6 | 650 | 360 | 250 | 460 | 380 | 200 | 440 | 38 | 38 | |
33 | YZG60-4.5/6 | 670 | 360 | 250 | 460 | 380 | 200 | 440 | 38 | 38 | |
34 | YZG80-5.5/6 | 710 | 380 | 280 | 530 | 440 | 220 | 460 | 40 | 45 | 图2 |
35 | YZG100-7.5/6 | 865 | 440 | 140 | 530 | 440 | 240 | 467 | 36 | 45 | |
36 | YZG135-9.0/6 | 985 | 510 | 140 | 600 | 480 | 265 | 520 | 38 | 45 | 图3 |
37 | YZG160-11.0/6 | 998 | 510 | 140 | 600 | 480 | 265 | 520 | 38 | 45 | |
38 | YZG180-13.0/6 | 970 | 510 | 140 | 610 | 520 | 290 | 570 | 38 | 45 | |
39 | YZG30-2.2/8 | 700 | 330 | 250 | 460 | 380 | 200 | 420 | 38 | 38 | 图1 |
40 | YZG50-3.7/8 | 760 | 380 | 280 | 530 | 440 | 220 | 460 | 40 | 45 | 图1 |
41 | YZG1.5-0.18/8 | 330 | 150 | 110 | 180 | 180 | 100 | 210 | 18 | 18 | |
42 | YZG3-0.25/8 | 420 | 195 | 140 | 265 | 220 | 120 | 230 | 22 | 22 | 图1 |
43 | YZG5-0.37/8 | 460 | 215 | 150 | 320 | 260 | 140 | 300 | 24 | 26 | |
44 | YZG10-0.75/8 | 496 | 240 | 170 | 380 | 310 | 160 | 340 | 30 | 32 | |
45 | YZG16-1.1/8 | 560 | 240 | 170 | 310 | 310 | 160 | 340 | 30 | 32 |