王老板您好:
您在我公司订购的LZF-6型仓壁振动器30台货已发出,货到后安物流会安排人把
货给您送到仓库请您安排人验收。另外下一批货我已安排给您备货,请您放心,啥时候
通知我发货随时可发。合作愉快!

LZF仓壁振动器产品概述
仓壁振动器又称振动防闭塞装置,用来使料仓、料罐或料斗漏料段的倾斜壁高频振动,以防止和消除料仓,料罐或料门内物料起拱、出现管状通道、仓壁粘料等不畅流现象,以保证物料从料仓、料罐或料斗中顺畅流出,提高物料输送的自动化程度。仓壁振动器由于具有结构简单、防堵塞能力强、能耗低、寿命长、激振力可调等优点,目前已广泛应用于煤炭、电力、建材、煤炭、矿山、化工、冶金、铸造、轻工、食品、制药、粮食、交通等各种行业贮料仓的防闭塞之用。具有体积小、重量轻、高效节能、安装简单等特点。
LZF仓壁振动器特点:
1、仓壁振动器能力强、功耗低、效果好;
2、仓壁振动器能力可调、使用范围广,噪音低、寿命长
3、安装和维修方便;
LZF仓壁振动器使用条件
1、料仓锥部容量低于200m3的各种结构贮煤仓或贮料仓。
2、毫米级仓贮物料,微粉的含量低于20%。
LZF仓壁振动器结构及工作原理
LZF仓壁振动器可用螺栓把底座固定于料仓底部的仓壁上,也可直接把底座焊接在料仓上,其固定(焊接)要牢靠,与仓壁连接的刚度越好,其使用效果就越好。
LZF仓壁振动器结构及工作原理
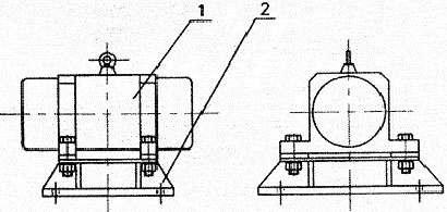
结构如图所示。由振动电机(1),底座(2)两部分组成。振动电机和底座由螺栓紧密地固定为一体。由于底座紧固地安装在料仓壁上,这样就构成了单质点定向***振动系统。
LZF仓壁振动器采用振动电机作为激振LZF型料仓振动防闭寒装置采用电机作为激振源。当LZF仓壁振动器工作时,振动电机的高速转动,便产生了对料仓壁的周期性高频振动,由于仓壁振动器的周期性振动,一方面使物料与仓壁脱离接触、消除物料与仓壁的摩擦,另一方面使物料受交变速度和加速度的影响,处于不稳定状态,从而有效地克服物料的内摩擦力和聚集力,以消除料仓内物料间的相对稳定性,使物料从料仓口顺利排出。
LZF仓壁振动器的技术参数表
仓壁振动器型号 | 适用料仓槽 | 锥部仓容 | 配用振动电机 | 激振力 | 功率 | 重量 |
LZF-3仓壁振动器 | 1.6-3.2 | 0.6 | 0.7-2 | 0.7 | 0.075 | 20 |
LZF-4仓壁振动器 | 3.2-4.5 | 1 | 1.5-2 | 1.5 | 0.15 | 25 |
LZF-5仓壁振动器 | 4.6-6 | 3 | 2.5-2 | 2.5 | 0.25 | 38 |
LZF-6仓壁振动器 | 6-8 | 10 | 5-2 | 5 | 0.4 | 42 |
LZF-10仓壁振动器 | 8-10 | 20 | 10-2 | 10 | 0.75 | 58 |
LZF-15仓壁振动器 | 10-12 | 50 | 15-2 | 15 | 1.1 | 65 |
LZF-20仓壁振动器 | 12-15 | 80 | 20-2 | 20 | 1.5 | 98 |
LZF-25仓壁振动器 | 15-25 | 150 | 30-2 | 30 | 2.2 | 147 |

